Qingdao Xin Aneng Conveying Machinery Co., Ltd.
Qingdao Xin Aneng Conveying Machinery Co., Ltd.
খবর

ক্লিনার প্রোটোকল নির্ধারণ

1.1 ক্লিনার প্রোগ্রাম নির্ধারণ

মেনে চলা কয়লার ধুলার আঠালো টেপটি সুইপ করুন। যেমনটি আমরা সবাই জানি, খনির মুখ থেকে পরিবহন করা কাঁচা কয়লাটিতে বিভিন্ন ডিগ্রি আর্দ্রতা থাকে এবং সূক্ষ্ম পালভারাইজড কয়লাটি টেপের পৃষ্ঠে বন্ধন করা সহজ। যদি টেপের সাথে বন্ধনযুক্ত পালভারাইজড কয়লাটি পরিষ্কার না করা হয় তবে পালভারাইজড কয়লাটি বেল্ট স্টোরেজ বিন এবং খালি বিভাগে পুরো নীচের বেল্টের নীচে রোলারটি নিয়ে আসা হবে (অর্থাত্ নীচের বেল্ট), এবং এটি মূলত বেল্ট স্টোরেজ বিনে জমা হবে।

মূল ফলাফলগুলি হ'ল:

বেল্ট স্টোরেজ বিনে প্রচুর পরিমাণে পালভারাইজড কয়লা জমা হয়, যা সমর্থন রোলারকে কবর দেয়, যার ফলে রোলারটি পরিচালনা করতে ব্যর্থ হয় এবং বেল্টের পরিষেবা জীবনকে প্রভাবিত করে;

2) বেল্ট অপারেশনের বিচ্যুতি প্রান্তটি ঝুলন্ত বা ছিঁড়ে যাওয়া দুর্ঘটনার কারণ ঘটায়;

3) টেপের চলমান প্রতিরোধের বৃদ্ধি এবং ব্যয় বৃদ্ধি;

৪) কয়লা পরিষ্কার করা পরিমাণ বৃদ্ধি পায়, যা শ্রমিকদের শ্রমের তীব্রতা বাড়ায়;

কয়লা ক্লিনার ব্যবহারে তিনটি সমস্যা সমাধান করতে হবে:

1) পরিষ্কারের প্রভাব ভাল হওয়া উচিত;

2) ক্লিনারটি প্রতিস্থাপন করা সহজ এবং রক্ষণাবেক্ষণের কাজের চাপ ছোট হওয়া উচিত;

3) পরিষ্কার করা পালভারাইজড কয়লার জন্য অবশ্যই একটি উপায় থাকতে হবে।

1। বর্তমান পরিস্থিতি বিশ্লেষণ

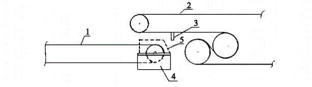
1) traditional তিহ্যবাহী কয়লা ক্লিনারের কাঠামো এবং অবস্থান


চিত্র 2-1 থেকে দেখা যায়, কয়লা ক্লিনারটি সাধারণত ড্রামের পিছনে ইনস্টল করা হয়। কয়লা ক্লিনারটি একটি কয়লা ক্লিনার ফ্রেম গঠনের জন্য দুটি স্প্লিন্টের মাঝখানে টেপের একটি টুকরো ঠিক করা উচিত, কয়লা ক্লিনার টেপটি পরিষ্কার করার জন্য ফাঁকা টেপকে তৈরি করতে পিন এবং লিভার কাঠামো ব্যবহার করে, কয়লা ক্লিনারকে একটি নির্দিষ্ট চাপ তৈরি করতে বসন্তের উত্তেজনা ব্যবহার করুন এবং চাপ ক্ষতিপূরণ পরে কোয়ান ক্লিনার টেপকে পরিচ্ছন্ন করতে পারেন।

2) traditional তিহ্যবাহী কয়লা ক্লিনারদের ত্রুটি

ক। কয়লা ক্লিনারটি একটি পরিষ্কারের টেপ দ্বারা গঠিত, এবং নীচের বেল্টটি একটি ফাঁকা বেল্ট হওয়ায় বেল্টটি কয়লা ক্লিনারের চাপের মধ্যে ভাসমান, কয়লা ক্লিনারের চাপ যথেষ্ট নয়, এবং পরিষ্কারের প্রভাব খুব খারাপ।

Col

গ। কয়লা ক্লিনারের প্রতিস্থাপনের কাজের চাপটি বড়, যা কয়লা ক্লিনারকে ক্ষতি করতে সহজ করে তোলে এবং প্রতিস্থাপন চক্রটিও খুব ছোট।

3) সাধারণ বেল্ট ট্রান্সপোর্ট ল্যাপ জয়েন্ট

একটি সাধারণ বেল্ট পরিবহন কোলে চিত্র 2-2 এ দেখানো হয়েছে।

চিত্র 2-2 থেকে দেখা যায়, কয়লা ক্লিনারের অধীনে কয়লা সরাসরি কোনও বেল্টে পিছলে যেতে পারে না, এবং "কয়লা খনি সুরক্ষা বিধিমালা" এর বিধান অনুসারে, সমস্ত সরঞ্জামের 35 টি চলমান অংশগুলি অবশ্যই একটি সুরক্ষামূলক ডিভাইস (অর্থাত্ একটি ঝাল) দিয়ে সজ্জিত করতে হবে, সুতরাং একটি বেল্ট দিয়ে একটি বেল্ট দিয়ে সজ্জিত হওয়ার পরে, দুটি বেল্ট ক্লিনার দ্বারা স্লিপ করা হয়েছে।

সম্পর্কিত খবর
আমাকে একটি বার্তা ছেড়ে দিন
X
আমরা আপনাকে একটি ভাল ব্রাউজিং অভিজ্ঞতা দিতে, সাইটের ট্র্যাফিক বিশ্লেষণ করতে এবং সামগ্রী ব্যক্তিগতকৃত করতে কুকিজ ব্যবহার করি। এই সাইটটি ব্যবহার করে, আপনি আমাদের কুকিজ ব্যবহারে সম্মত হন। গোপনীয়তা নীতি
প্রত্যাখ্যান করুন গ্রহণ করুন